激波吹灰器設備采用一種性能非常先進的新一代除灰技術來進行除灰,屬于一種更新換代的產品,其廣泛的應用于清除鍋爐尾部受熱面積灰的一種設備,其具有很好的推廣應用價值。

燃煤和燃油鍋爐在運行過程中,尾部受熱面普遍產生積灰,使煙氣阻力增加,排煙溫度升高,嚴重影響鍋爐的正常運行。國內外常用的蒸汽吹灰技術在很多情況下不適于清除鍋爐尾部積灰,除灰效果很不理想。主要原因是蒸汽吹灰器會導致煙氣濕度增加,更容易造成積灰和堵塞,有時還會使腐蝕加劇,對含鈣量或含硫量較高的灰更是如此。
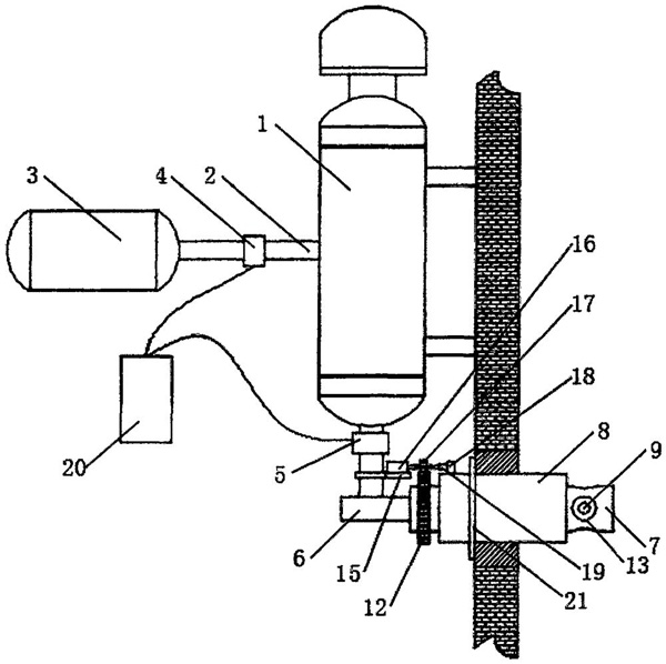
激波吹灰器工作原理:

激波吹灰器設備它是利用乙炔(煤氣、天然氣、液化氣)等常用可燃氣體和空氣,經過各自的流量測控系統后,按一定比例進行均勻混合,然后送入燃燒室中燃燒。與常規的燃燒過程和燃燒方式有所不同,燃氣脈沖燃燒是利用不穩定燃燒氣體在高湍流狀態下,產生壓縮波,形成動能、聲能、熱能。
這種燃燒速度較快,燃燒產生的氣體壓力被限制在一定的范圍之內,在輸出管的噴口處發射沖擊波能與積灰狀況適應,通過沖擊波的作用使受熱面上的積灰脫落,將被污染受熱面上的灰塵顆粒、松散物、粘合物及沉積物除去,達到降低鍋爐尾部排煙溫度,提高鍋爐熱效率。能夠在較大空間范圍內有效清除受熱面的積灰結焦,大幅度提高換熱效率和降低排煙溫度,運行可靠、效果顯著,設備配置安全可靠。