燃氣脈沖吹灰器工作原理由空氣動力學得知,在密閉的空間內,高壓氣體在短時間內迅速與低壓氣體接觸時,其前鋒面就會形成一個壓縮波,在沖擊管內,前鋒壓縮波被不斷加強、加速,最終形成一定強度的沖擊波。沖擊波形成的強度很大程度上取決于高壓氣體與低壓氣體瞬間接觸的時間,即所謂的破膜時間,當其達到一定的臨界值后就能產生,時間越短,強度越大。

智能燃氣脈沖吹灰器就是利用這一原理,利用可燃氣體(乙炔)與空氣按一定的比例在特殊設計的混合室內混合產生特性氣體,然后進入特殊設計的燃燒室內點燃后產生帶一定峰值壓力的強波射氣流,同時伴有沖擊波和熱輻射,最終形成的速度通常在2倍音速以上,從噴射管噴射到鍋爐受熱面上,并在噴射口外的扇形空間形成球面擴散,擴散后會在被吹物體表面上發生物理界面折射,并通過折射向深層導入。劇烈的強波射氣流對積灰面產生“先沖壓后吸拉的作用” 使受熱面上的積灰受到沖擊而破碎,剝落脫離積灰基底,通過吹灰能量的控制,可以適應不同類型鍋爐和換熱設備吹灰,迫使受熱面積灰在不同強度的沖擊下脫落。

脈沖吹灰器具有蒸汽吹灰器所具有的氣體直接作用的機械沖擊力以及聲波吹灰器各種頻率聲波的聲能作用力,通過爆燃氣體的動能,聲能和熱能綜合進行吹灰。總之智能燃氣脈沖吹灰器所具有良好的吹灰效果,還具有氣力吹掃和各種頻率聲能的共同作用,其效果比蒸汽吹灰器,聲波吹灰器更加理想。
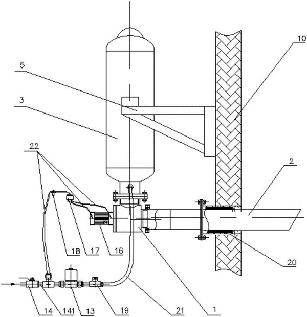
使空氣和燃氣在一個特殊的容器中混合,經高頻點火,進行爆燃,混合氣體急劇膨脹,生成高溫、高壓氣體。該氣體在一個特殊結構的罐體內得到加強和加速,形成高能氣體,并從噴嘴以沖擊動能、熱能和聲能的形式進入爐內,作用在鍋爐受熱面的積灰層上,使積灰脫落,再被煙氣帶出爐外。合理的設計吹灰裝置系統及各部分結構、尺寸、形狀,從而獲得可控的吹灰強度,達到最佳的吹灰效果。