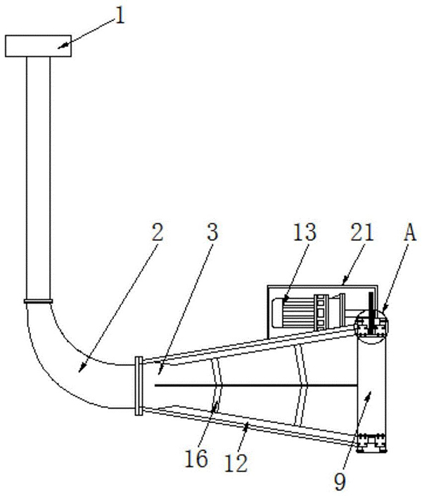
聲波吹灰器技術是將壓縮空氣(或蒸汽)轉換成大功率聲波或次聲波(一種以疏密波的形式在空間介質(氣體)中傳播的壓力波)送入爐內,當受熱面上的積灰受到以一定頻率交替變化的疏密波反復拉、壓作用時,因疲勞疏松脫落,隨煙氣流帶走,或在重力作用下,沉落至灰斗排出。

聲波吹灰器有雙音雙頻聲波吹灰器和單音單頻聲波吹灰器兩種,其發聲原理不盡相同,雙音雙頻聲波吹灰器是將壓縮空氣流經一個高音高頻發聲哨產生的高音高頻聲波和一個低音低頻聲波發生罩反射形成的低音低頻聲波進行耦合疊加產生雙音雙頻帶狀頻率聲波;單音單頻聲波吹灰器是將壓縮空氣或蒸汽流經金屬膜片、旋笛、發 聲共振腔或其它聲波發生組件產生很強的聲音;聲波在煙道或爐膛內傳播,牽動煙氣中的灰粒同步振動,在聲波振動及疲勞反復累計作用下,使微小的灰粒難以靠近積灰面,也使沉積在受熱面上的灰塵破壞剝離,從而達到清灰的目的。
聲波吹灰器結構圖
